拜耳公司 |
同濟大學 |
聯合大學 |
美國保潔 |
美國強生 |
瑞士羅氏 |
基于液滴機械振動的液體表面張力測試方法
來源:本站原創 瀏覽 442 次 發布時間:2019-08-01
液體表面張力是液體的重要性質,在常溫體系中,用它可以確定表面活性并計算表面活性劑在溶液表面的吸附量。測定表面張力的方法很多,按測量原理可分為動力學法和靜力學法,動力學法是通過測量決定某一過程的數值來計算表面張力,而靜力學法則是通過測定某一狀態下的某些特定數值來計算表面張力?;谝旱卧谒讲F献匀恍纬尚螤钣嬎惚砻鎻埩Φ撵o滴法是一種靜力學方法,傳統的靜滴法是根據物理學中的Laplace's equation(拉普拉斯方程),通過液滴的輪廓和表面張力的關系進行計算,但計算繁瑣,易出錯且費時。
奧地利科學家發現聲源與觀察者之間的相對運動,會使得觀察者聽到的聲音振動頻率不同于聲源。當聲源遠離觀測者時,聲波波長增加,音調變得低沉,但聲源接近觀測者時,聲波的波長減小,音調變高,這種現象被稱為多普勒效應,適應于所有類型的波。本發明所采用的多普勒超聲儀,是基于超聲多普勒技術,利用超聲波穿透能力強,衍射程度小等物理特性,并結合多普勒效應,將液滴自由振動的周期性蘊藏超聲多普勒頻移信號中。
基于液滴機械振動的液體表面張力測試方法技術方案:
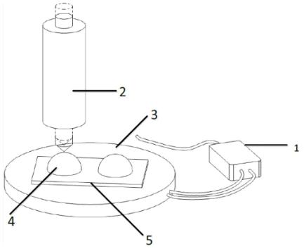
一種基于液滴機械振動的液體表面張力測試方法,采用多普勒超聲探頭將自由液滴的表面毛細波振動轉換為多普勒頻移信號,經計算機信號處理模塊收集并進行數據處理,具體包括以下步驟:
(1)在多普勒超聲儀的超聲探頭上放置疏水基片,通過微量注射器產生液滴于疏水基片上;
(2)通過具有自動回彈功能的振動觸發裝置使液滴發生振動,振動觸發裝置回彈后,液滴發生自由振動;

(3)超聲探頭將液滴的自由振動轉換為多普勒頻移信號并加以放大;
(4)計算機信號處理模塊對多普勒頻移信號采集得到液滴自由振動特征圖,傅里葉變換后得到振動頻率特征圖,分析振動頻率特征圖并讀取二倍頻峰頻率;
(5)重復步驟(1)至(4),測定不同質量液滴的二倍頻峰頻率,之后以液滴質量的倒數為橫坐標,以二倍頻峰頻率的平方為縱坐標作圖擬合直線,求出直線斜率,然后進一步得到液滴表面張力。
所述振動觸發裝置帶有具有自動回彈功能的尖端,設于疏水基片的上部。
所述振動觸發裝置的尖端為聚四氟乙烯材質。
所述疏水基片與超聲探頭之間通過凝膠層耦合。
所述微量注射器產生液滴的質量為5-20mg。
步驟(4)中計算機信號處理模塊包括用于數據采集的Audition軟件以及用于數據處理的origin軟件。
步驟(5)計算液滴表面張力所依據的公式為:
其中,fn為液滴表面波的振動頻率,從振動頻率特征圖中獲得,n為液滴的振動模式,m為液滴的質量,γLV為液滴表面張力。
本文所使用的方法是基于Lamb公式和Noblin提出的關于表面毛細波的色散性和質量之間的關系,通過一系列計算得到液滴表面張力。當液滴放置在與它不潤濕的基片上并發生自由振動時,若其表面波的波長較小,則表面張力起主導作用。
多普勒超聲儀是由超聲發射器發出連續超聲,當遇到自由振動的液滴,反射回來的超聲已是改變了頻率的連續超聲,它被反射超聲接收器接受并轉為電信號,此信號與儀器的高頻振蕩器產生的信號混頻以后,經高頻放大器放大,然后解調出差頻信號。多普勒超聲儀的超聲探頭采用非聚焦連續波多普勒原理,超聲探頭由與疏水基片耦合的超聲換能器及電路部分組成,它將液滴的特征自由振動通過多普勒頻移原理轉化為特征頻移信號并加以放大。
采用多普勒超聲儀的探頭,提供了穩定的表面波信號解調系統,減少空間尺寸,基于簡單計算公式對振動頻率進行分析并計算表面張力,設備造價低,儀器性價比高;操作簡便、省時,能快速取得準確可靠的結果;測量范圍廣;試劑用量少,原則上只需要幾十微升液體即可;可以進行連續的表面張力測定;具有觸發振動作用的聚四氟乙烯尖端對形成的表面施加的影響較小,表面張力的測量精度主要取決于頻率的測量精度。





